Zum Hauptinhalt springen Zur Suche springen Zur Hauptnavigation springen
Merkliste
Anzeigeart ohne
Ausführung Direktmessung
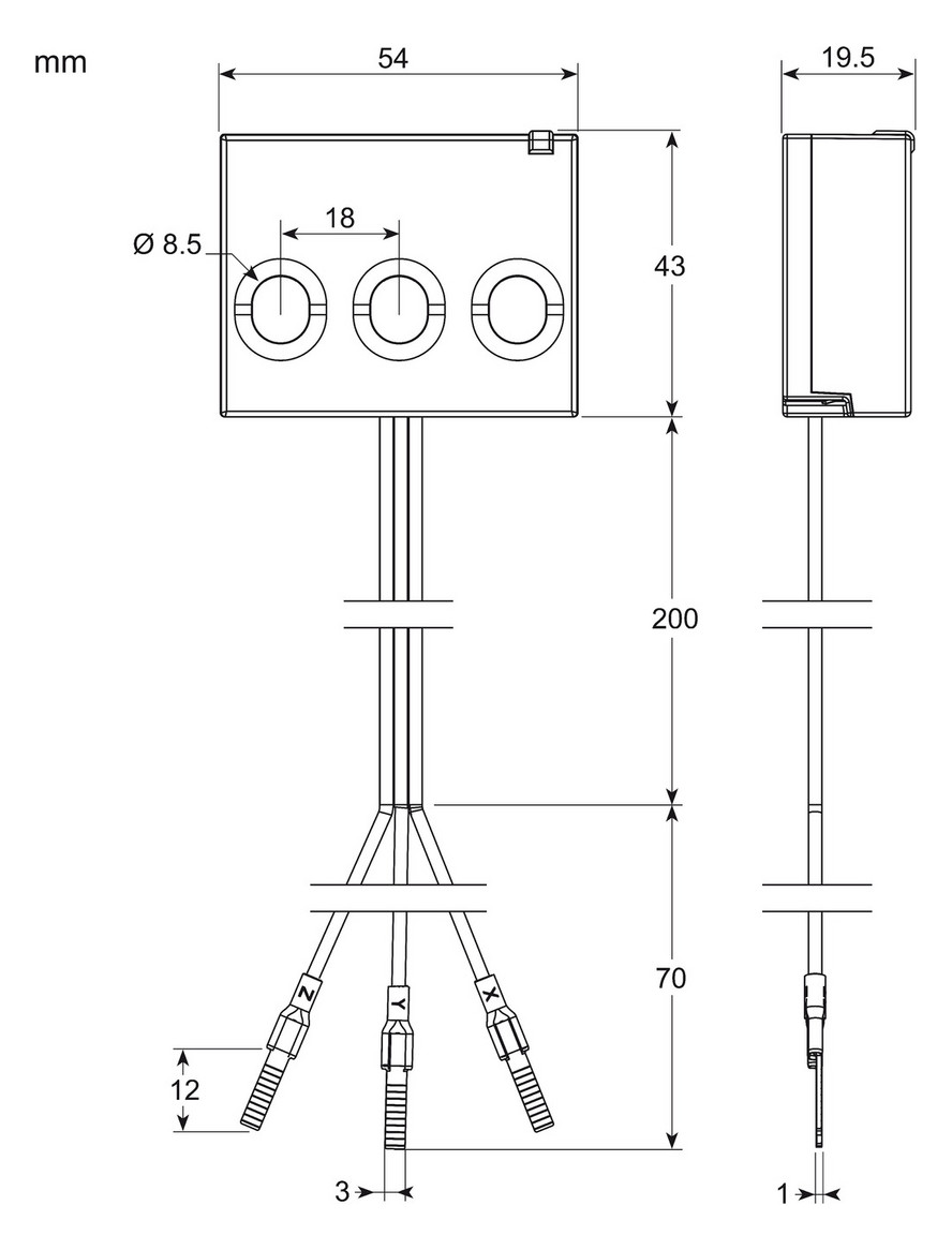
Breite 54 mm
Breite in Teilungseinheiten 3
Energieart Wirk- und Blindleistung
Frequenz 50 - 50 Hz
Geeicht ja
Geeignet für Bezug
Genauigkeitsklasse A
Höhe 19.5 mm
Maximalstrom (Imax) 63 A
Montageart Stecktechnik
Nennspannung (Un) L-L 400 - 400 V
Nennstrom (In) 63 A
Polart Dreileiter
Schutzart (IP) IP20
Schutzart (NEMA) 1
Tiefe 43 mm
Zählertyp elektronisch
Schneider Drehstromzähler Dreileit elektr geeicht A 63A 400V/L-L 50Hz
Produktinformationen des Herstellers
Der PowerTag Energy F63 3P ist ein drahtlos kommunizierender Energiezähler. Mit seinem flexiblen Design für 3P Messstellen mit einer Nennleistung von 63A oder weniger geeignet. Der Energiezähler muss mit einem Konzentrator oder einem Gateway verbunden sein. Er ist speziell für Anwendungen in den Bereichen Energiemanagement, Lastüberwachung und Verfügbarkeit ausgelegt. Es umfasst genaue Echtzeitmessungen von Wirkenergie, Wirkleistung, Strom, Spannung und Leistungsfaktor. Mit 2 Quadranten Energiemessung. Im Falle eines Stromausfalls sendet er einen Spannungsverlustalarm und den Wert des Stroms pro Phase, bevor er abgeschaltet wird. PowerTag Energy 63A entspricht der Norm IEC 61557-12. Es ist ein PMD-I/DD/K55/1. Die Genauigkeitsklasse ist Klasse 1. Der Imax Maximalstrom ist 63A. Der Ib Basisstrom ist 10A. Der Sättigungsstrom ist 130A und der Ist-Einschaltstrom ist 40mA. Die Un-Bemessungsspannung ist Phase-Phase 380VAC bis 415VAC +/- 20%. Der maximale Verbrauch ist kleiner oder gleich 2VA. Er kann entweder an der Oberseite oder an der Unterseite der Schutzeinrichtung montiert werden. Die Produktfarbe ist weiß (RAL9003). Das Gewicht beträgt 38 g. Die Schutzart ist IP20 und IK05. Die Betriebstemperatur liegt zwischen -25°C und +60°C. Die Lagertemperatur liegt
Mehr Informationen
Melde Dich zuerst an, um diese Funktion verwenden zu können.
Anzeigeart ohne
Ausführung Direktmessung
Breite 54 mm
Breite in Teilungseinheiten 3
Energieart Wirk- und Blindleistung
Frequenz 50 - 50 Hz
Geeicht ja
Geeignet für Bezug
Genauigkeitsklasse A
Höhe 19.5 mm
Maximalstrom (Imax) 63 A
Montageart Stecktechnik
Nennspannung (Un) L-L 400 - 400 V
Nennstrom (In) 63 A
Polart Dreileiter
Schutzart (IP) IP20
Schutzart (NEMA) 1
Tiefe 43 mm
Zählertyp elektronisch
Schneider Drehstromzähler Dreileit elektr geeicht A 63A 400V/L-L 50Hz
Produktinformationen des Herstellers
Der PowerTag Energy F63 3P ist ein drahtlos kommunizierender Energiezähler. Mit seinem flexiblen Design für 3P Messstellen mit einer Nennleistung von 63A oder weniger geeignet. Der Energiezähler muss mit einem Konzentrator oder einem Gateway verbunden sein. Er ist speziell für Anwendungen in den Bereichen Energiemanagement, Lastüberwachung und Verfügbarkeit ausgelegt. Es umfasst genaue Echtzeitmessungen von Wirkenergie, Wirkleistung, Strom, Spannung und Leistungsfaktor. Mit 2 Quadranten Energiemessung. Im Falle eines Stromausfalls sendet er einen Spannungsverlustalarm und den Wert des Stroms pro Phase, bevor er abgeschaltet wird. PowerTag Energy 63A entspricht der Norm IEC 61557-12. Es ist ein PMD-I/DD/K55/1. Die Genauigkeitsklasse ist Klasse 1. Der Imax Maximalstrom ist 63A. Der Ib Basisstrom ist 10A. Der Sättigungsstrom ist 130A und der Ist-Einschaltstrom ist 40mA. Die Un-Bemessungsspannung ist Phase-Phase 380VAC bis 415VAC +/- 20%. Der maximale Verbrauch ist kleiner oder gleich 2VA. Er kann entweder an der Oberseite oder an der Unterseite der Schutzeinrichtung montiert werden. Die Produktfarbe ist weiß (RAL9003). Das Gewicht beträgt 38 g. Die Schutzart ist IP20 und IK05. Die Betriebstemperatur liegt zwischen -25°C und +60°C. Die Lagertemperatur liegt
Mehr Informationen
Melde Dich zuerst an, um diese Funktion verwenden zu können.
Artikelnummer 8229623
Hersteller Schneider
Originalbezeichnung A9MEM1573
Werksnummer A9MEM1573
EAN 3606489940843
Zolltarifnummer 90283019
Lagerart Beschaffungsware
Melde Dich zuerst an, um weitere Informationen zum Bestand zu erhalten

Zuletzt angesehen

Informationen direkt vom Hersteller

Katalogseiten

Bewertungen (0)

Durchschnittliche Bewertung von 0 von 5 Sternen

Gib eine Bewertung ab!

Teile Deine Erfahrungen mit dem Produkt mit anderen Kunden.